您的位置:

一种用于粉仓的助流喷吹及安全保护装置

说明书摘要

 

 

本实用新型提供一种用于粉仓的助流喷吹及安全保护装置,包括:主供气单元、分支供气单元、环形供气单元和连接板;主供气单元包括:第一主供气管路、第二主供气管路和第三主供气管路;分支供气单元包括:第一分支供气管路、第二分支供气管路和第三分支供气管路;环形供气单元包括:第一环形管路、第二环形管路和第三环形管路;第一环形管路、第二环形管路和第三环形管路均通过连接板固定在粉仓上;第一环形管路上、第二环形管路上和第三环形管路上均设有若干喷吹管;每个喷吹管的喷口设置在粉仓内。本实用新型提供的用于粉仓的助流喷吹及安全保护装置,可以显著提高粉料的流动性,避免发生堵粉的情况;还可以惰化粉料,避免发生粉料自燃。

 

 

摘要附图

 

 

 

权利要求书

 

 

1、一种用于粉仓的助流喷吹及安全保护装置,其特征在于,包括:主供气单元(1)、分支供气单元(2)、环形供气单元(3)和连接板(4);

所述主供气单元(1)包括:并排设置的第一主供气管路(10)、第二主供气管路(11)和第三主供气管路(12);所述第一主供气管路(10)上设有第一主控制阀(13),所述第二主供气管路(11)上设有第二主控制阀(14),所述第三主供气管路(12)上设有第三主控制阀(15);

所述分支供气单元(2)包括:并排设置的第一分支供气管路(20)、第二分支供气管路(21)和第三分支供气管路(22);所述第一分支供气管路(20)上设有第一分支控制阀(23),所述第二分支供气管路(21)上设有第二分支控制阀(24),所述第三分支供气管路(22)上设有第三分支控制阀(25);

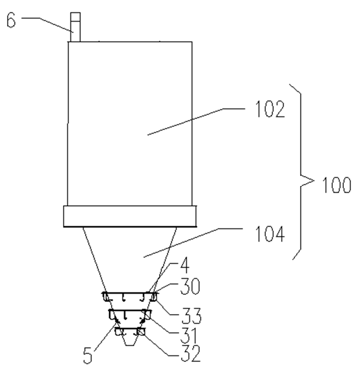
所述环形供气单元(3)包括:第一环形管路(30)、第二环形管路(31)和第三环形管路(32);

所述第一主供气管路(10)、所述第二主供气管路(11)和所述第三主供气管路(12)并联后形成主供气管路;所述第一分支供气管路(20)的一端、所述第二分支供气管路(21)的一端和所述第三分支供气管路(22)的一端并联后连接所述主供气管路;所述第一分支供气管路(20)的另一端连接所述第一环形管路(30),所述第二分支供气管路(21)的另一端连接所述第二环形管路(31),所述第三分支供气管路(22)的另一端连接所述第三环形管路(32);

所述第一环形管路(30)、所述第二环形管路(31)和所述第三环形管路(32)均通过所述连接板(4)固定在粉仓(100)上;所述第一环形管路(30)、所述第二环形管路(31)和所述第三环形管路(32)上均设有若干喷吹管(33);每个喷吹管(33)的喷口设置在所述粉仓(100)内。

2、如权利要求1所述的助流喷吹及安全保护装置,其特征在于,所述第一环形管路(30)、所述第二环形管路(31)和所述第三环形管路(32)平行布置。

3、如权利要求1所述的助流喷吹及安全保护装置,其特征在于,所述第一环形管路(30)、所述第二环形管路(31)和所述第三环形管路(32)均通过若干连接板(4)固定在所述粉仓(100)上。

4、如权利要求3所述的助流喷吹及安全保护装置,其特征在于,每个连接板(4)为固定在所述粉仓(100)上的挂钩。

5、如权利要求1至4中任意一项权利要求所述的助流喷吹及安全保护装置,其特征在于,还包括:温度检测装置(5)和气体检测装置(6);

其中,所述温度检测装置(5)设置在所述粉仓(100)的底部,所述气体检测装置(6)设置在所述粉仓(100)的顶部。

6、如权利要求5所述的助流喷吹及安全保护装置,其特征在于,所述第一主供气管路(10)用于提供氮气,所述第二主供气管路(11)用于提供压缩空气,所述第三主供气管路(12)用于提供二氧化碳。

7、如权利要求6所述的助流喷吹及安全保护装置,其特征在于,所述第一主控制阀(13)、所述第二主控制阀(14)、所述第三主控制阀(15)、所述第一分支控制阀(23)、所述第二分支控制阀(24)和所述第三分支控制阀(25)均为手动阀或均为电磁阀。

 

 

说明书

 

 

一种用于粉仓的助流喷吹及安全保护装置

 

 

 

技术领域

 

本实用新型涉及煤粉存储设备技术领域,尤其涉及一种用于粉仓的助流喷吹及安全保护装置。

 

 

背景技术

 

在煤磨系统运行中,需要将煤研磨成粉状再进行利用,在转运过程中通常使用煤粉存储设备来暂放煤粉。目前,应用广泛的煤粉存储设备为立式圆柱形粉仓,在整个粉仓内,粉料颗粒间的互相作用力随高度的降低而增大,在粉仓的出口处颗粒间互相作用力达到最大。由于粉料颗粒直径均小于0.5mm,所以在出口处的颗粒之间就易产生大的范得华力,即吸引力;并且,粉仓出口处的出口直径小,显著降低了煤粉的流动性,进而造成煤粉不易从粉仓出口落下的情况。

当粉仓发生堵塞时,下部粉料堆积密度增大,现有的助流气垫作用显著降低,用户只能通过外部敲击震动等方法使粉料缓慢、少量的下落,严重影响系统的正常运行。此外,如果单一使用压缩空气进行助流,仓内氧量增高,煤粉极易发生自燃,亟待改进。

 

 

 

实用新型内容

 

本实用新型的目的在于提供一种用于粉仓的助流喷吹及安全保护装置,可以显著提高粉料的流动性,避免发生堵粉的情况;还可以惰化粉料,避免发生粉料自燃。

本实用新型提供一种用于粉仓的助流喷吹及安全保护装置,包括:包括:主供气单元、分支供气单元、环形供气单元和连接板;所述主供气单元包括:并排设置的第一主供气管路、第二主供气管路和第三主供气管路;所述第一主供气管路上设有第一主控制阀,所述第二主供气管路上设有第二主控制阀,所述第三主供气管路上设有第三主控制阀;所述分支供气单元包括:并排设置的第一分支供气管路、第二分支供气管路和第三分支供气管路;所述第一分支供气管路上设有第一分支控制阀,所述第二分支供气管路上设有第二分支控制阀,所述第三分支供气管路上设有第三分支控制阀;所述环形供气单元包括:第一环形管路、第二环形管路和第三环形管路;所述第一主供气管路、所述第二主供气管路和所述第三主供气管路并联后形成主供气管路;所述第一分支供气管路的一端、所述第二分支供气管路的一端和所述第三分支供气管路的一端并联后连接所述主供气管路;所述第一分支供气管路的另一端连接所述第一环形管路,所述第二分支供气管路的另一端连接所述第二环形管路,所述第三分支供气管路的另一端连接所述第三环形管路;所述第一环形管路、所述第二环形管路和所述第三环形管路均通过所述连接板固定在粉仓上;所述第一环形管路上、所述第二环形管路上和所述第三环形管路上均设有若干喷吹管;每个喷吹管的喷口设置在所述粉仓内。

可选地,所述第一环形管路、所述第二环形管路和所述第三环形管路平行布置。

可选地,所述第一环形管路、所述第二环形管路和所述第三环形管路均通过若干连接板固定在所述粉仓上。

可选地,每个连接板为固定在所述粉仓上的挂钩。

可选地,所述助流喷吹及安全保护装置还包括:温度检测装置和气体检测装置;其中,所述温度检测装置设置在所述粉仓的底部,所述气体检测装置设置在所述粉仓的顶部。

可选地,所述第一主供气管路用于提供氮气,所述第二主供气管路用于提供压缩空气,所述第三主供气管路用于提供二氧化碳。

可选地,所述第一主控制阀、所述第二主控制阀、所述第三主控制阀、所述第一分支控制阀、所述第二分支控制阀和所述第三分支控制阀均为手动阀或均为电磁阀。

本实用新型的用于粉仓的助流喷吹及安全保护装置,通过主供气单元提供的氮气来改善粉仓内粉料的流动性,减少粉料发生堵塞的情况,还通过主供气单元提供的压缩空气作为助流喷吹的备用气源,并且,通过主供气单元提供的二氧化碳对煤粉进行惰化,防止粉仓内的煤粉发生自燃,从而进行安全保护,显著提高了输送效率及安全系数。此外,还通过控制分支供气单元使环形供气单元喷吹粉仓的不同部位,消除安全隐患。

 

 

附图说明

 

通过下面结合附图进行的详细描述,本实用新型的上述和其它目的、特点和优点将会变得更加清楚,其中:

图1为本实用新型实施例的用于粉仓的助流喷吹及安全保护装置的示意图;

图2为本实用新型实施例的用于粉仓的助流喷吹及安全保护装置的使用示意图。

 

 

具体实施方式

 

现在,将参照附图更充分地描述不同的示例实施例,其中,一些示例性实施例在附图中示出。

在本文中,“上、下”等用语是基于附图所示的位置关系而确立的,根据附图的不同,相应的位置关系也有可能随之发生变化,因此,并不能将其理解为对保护范围的绝对限定;而且,诸如“第一”和“第二”等之类的关系术语仅仅用来将一个与另一个具有相同名称的部件区分开来,而不一定要求或者暗示这些部件之间存在任何这种实际的关系或者顺序。

下面参照图1和图2描述本实用新型实施例的用于粉仓的助流喷吹及安全保护装置。

参照图1和图2,本实用新型实施例的用于粉仓的助流喷吹及安全保护装置包括:主供气单元1、分支供气单元2、环形供气单元3和连接板4。

所述主供气单元1包括:并排设置的第一主供气管路10、第二主供气管路11和第三主供气管路12;所述第一主供气管路10上设有第一主控制阀13,所述第二主供气管路11上设有第二主控制阀14,所述第三主供气管路12上设有第三主控制阀15。

所述分支供气单元2包括:并排设置的第一分支供气管路20、第二分支供气管路21和第三分支供气管路22;所述第一分支供气管路20上设有第一分支控制阀23,所述第二分支供气管路21上设有第二分支控制阀24,所述第三分支供气管路22上设有第三分支控制阀25。

所述环形供气单元3包括:第一环形管路30、第二环形管路31和第三环形管路32。

优选地,所述第一环形管路30、所述第二环形管路31和所述第三环形管路32平行布置,也就是说,第一环形管路30、第二环形管路31和第三环形管路32之间相互平行,可以有效减小输送气体的阻力。

所述第一主供气管路10、所述第二主供气管路11和所述第三主供气管路12并联后形成主供气管路,例如,通过焊接的方式形成所述主供气管路;所述第一分支供气管路20的一端、所述第二分支供气管路21的一端和所述第三分支供气管路22的一端并联后连接(例如,通过丝扣连接)所述主供气管路;所述第一分支供气管路20的另一端连接(例如,通过丝扣连接)所述第一环形管路30,所述第二分支供气管路21的另一端连接(例如,通过丝扣连接)所述第二环形管路31,所述第三分支供气管路22的另一端连接(例如,通过丝扣连接)所述第三环形管路32。

这里,所述第一主供气管路10用于提供氮气(可以理解,所述氮气可由外部的制氮系统制备得到),所述第二主供气管路11用于提供压缩空气,所述第三主供气管路12用于提供二氧化碳。

作为示例,所述第一主控制阀13、所述第二主控制阀14、所述第三主控制阀15、所述第一分支控制阀23、所述第二分支控制阀24和所述第三分支控制阀25均为手动阀或均为电磁阀,可以根据粉仓100内的煤粉情况切换不同的输送气体。

所述第一环形管路30、所述第二环形管路31和所述第三环形管路32均通过所述连接板4固定在粉仓100上;所述第一环形管路30上、所述第二环形管路31上和所述第三环形管路32上均设有若干喷吹管33;每个喷吹管33的喷口设置在所述粉仓100内。

优选地,所述第一环形管路30、所述第二环形管路31和所述第三环形管路32均通过若干连接板4固定在所述粉仓100上。

作为示例,每个连接板4为固定在所述粉仓100上的挂钩,但本实用新型不限于此。

此外,本实施例的助流喷吹及安全保护装置还包括:温度检测装置5和气体检测装置6。

所述温度检测装置5设置在所述粉仓100的底部,所述气体检测装置6设置在所述粉仓100的顶部。

作为示例,所述粉仓100包括:圆柱形仓体102和锥体部104。具体地,所述圆柱形仓体102的一端作为所述粉仓100的顶部,所述圆柱形仓体102的另一端连接所述锥体部104的一端,所述锥体部104的另一端作为所述粉仓100的底部。

在本示例中,所述温度检测装置5设置在所述锥体部104上,所述气体检测装置6设置在所述圆柱形仓体102上。

作为示例,所述温度检测装置5包括三个热电阻,具体地,三个热电阻分别插入所述锥体部104内的不同深度处,从而测量所述锥体部104内三个不同深度的温度值。

作为示例,所述气体检测装置6用于检测一氧化碳的含量。

下面详细介绍本实施例的用于粉仓的助流喷吹及安全保护装置的工作过程:

在粉仓100正常装粉的过程中,开启所述第一主控制阀13(可以理解,所述第二主控制阀14和所述第三主控制阀15均处于关闭状态),并开启所述第一分支控制阀23、所述第二分支控制阀24和所述第三分支控制阀25,从而使所述第一主供气管路10提供的氮气通过分支供气单元2流入环形供气单元3,并通过所述喷吹管33的喷口向所述锥体部104内喷吹氮气,进行助流装粉,有效改善粉仓内粉料的流动性,显著提高装粉速度,减少粉料发生堵塞的情况,并且可以对煤粉进行惰化。

当氮气提供出现问题(例如,外部的制氮系统发生故障)时,关闭所述第一主控制阀13并开启所述第二主控制阀14,从而通过所述第二主供气管路11输送压缩空气。具体地,所述第二主供气管路11提供的压缩空气通过分支供气单元2流入环形供气单元3,并通过所述喷吹管33的喷口向所述锥体部104内喷吹压缩空气,实现短时间切换至供气压力较大的压缩空气进行装粉。

当所述温度检测装置5检测到粉仓100的锥体部104内的煤粉温度达到第一预定值和/或所述气体检测装置6检测到粉仓100内的一氧化碳浓度达到第二预定值时,关闭所述第二主控制阀14并开启所述第三主控制阀15,从而通过所述第三主供气管路12输送二氧化碳。具体地,所述第三主供气管路12提供的二氧化碳通过分支供气单元2流入环形供气单元3,并通过所述喷吹管33的喷口向所述锥体部104内喷吹二氧化碳,从而对煤粉进行惰化,防止粉仓内的煤粉发生自燃,提高了输送效率及安全系数。

例如,当检测到一氧化碳含量超过800ppm、至少一个温度值超过75℃时,开启所述第三主控制阀15通过所述第三主供气管路12立即向所述锥体部104注入二氧化碳,以避免发生煤粉自燃。此外,在煤粉发生自燃时,向所述锥体部104内通入二氧化碳可以及时进行惰化。

可以理解,所述第一主控制阀13、所述第二主控制阀14和所述第三主控制阀15用于控制主供气单元1提供的气体种类。例如,当所述第一主控制阀13开启时,主供气单元1通过第一主供气管路10提供氮气;当所述第二主控制阀14开启时,主供气单元1通过第二主供气管路11提供压缩空气;当所述第三主控制阀15开启时,主供气单元1通过第三主供气管路12提供二氧化碳。

此外,所述第一分支控制阀23、所述第二分支控制阀24和所述第三分支控制阀25通过控制分支供气单元2中的管路来控制环形供气单元3喷吹的部位。例如,当所述第一分支控制阀23开启时,气体通过所述第一分支供气管路20流入所述第一环形管路30,从而通过布置在所述第一环形管路30上的喷吹管33对所述锥体部104的上部进行喷吹。当所述第二分支控制阀24开启时,气体通过所述第二分支供气管路21流入所述第二环形管路31,从而通过布置在所述第二环形管路31上的喷吹管33对所述锥体部104的中部进行喷吹。当所述第三分支控制阀25开启时,气体通过所述第三分支供气管路22流入所述第三环形管路32,从而通过布置在所述第三环形管路32上的喷吹管33对所述锥体部104的底部进行喷吹。

可以理解,也可根据需要开启多个分支控制阀,从而对所述锥体部104的多个部位进行喷吹。

综上,本实用新型实施例的用于粉仓的助流喷吹及安全保护装置,通过主供气单元提供的氮气来改善粉仓内粉料的流动性,减少粉料发生堵塞的情况,还通过主供气单元提供的压缩空气作为助流喷吹的备用气源,并且,通过主供气单元提供的二氧化碳对煤粉进行惰化,防止粉仓内的煤粉发生自燃,从而进行安全保护,显著提高了输送效率及安全系数。此外,还通过控制分支供气单元使环形供气单元喷吹粉仓的不同部位,消除安全隐患。

尽管已经参照其示例性实施例具体显示和描述了本实用新型,但是本领域的技术人员应该理解,在不脱离权利要求所限定的本实用新型的精神和范围的情况下,可以对其进行形式和细节上的各种改变。

 

说明书附图

 

图1

 

图2

 

 

 

 

 

 

 

 

2025-01-15 10:38
浏览量:0

新闻资讯

 

—————

联系我们

 

—————